Объявление

Свернуть
Пока нет объявлений.

Околонаучный флуд вокруг спиннинга

Свернуть
X
 
  • Фильтр
  • Время
  • Показать
Очистить всё
новые сообщения

  • Околонаучный флуд вокруг спиннинга

    Сообщение от tb960 Посмотреть сообщение
    я думаю что один слесарь по ремонту промышленного и нестандартного оборудования 5-6 разряда скажет вам больше истины о качестве механического изделия , чем десять инженеров . так как в живую видит как , что и сколько работает.
    Сообщение от Е.К. Посмотреть сообщение
    У меня речь шла даже не о ремонте,а о производстве нестандартного оборудования.Почувствуйте,как говорится,разницу. В квалификации это разница в порядок. Ковалёв как раз из них.
    Предлагаю специалистам (и всем, кто себя таковым по жизни ощущает) сделать оценку полёта конструкторской мысли ведущих производителей катушек. Начнем с ролика...
    Нажмите на изображение для увеличения.

Название:	Ролик -1.jpg
Просмотров:	1
Размер:	56.2 Кб
ID:	3920130
    Нажмите на изображение для увеличения.

Название:	Ролик -2.jpg
Просмотров:	1
Размер:	60.7 Кб
ID:	3920131
    Нажмите на изображение для увеличения.

Название:	Ролик -3.jpg
Просмотров:	1
Размер:	81.0 Кб
ID:	3920132

  • #17
    О-о-о мля,ошибся веткой.:o;)С моей докторской "Влияние инопланетного разума на генофонд жителей планеты Земля" тут делать некер...Не для средних умов.
    П.С. Эк вас торкает...:D
    Друг,из кувшина полного того плесни вина,я буду пить его,пока гончар не вылепит кувшин из праха
    твоего и моего... Омар Хайям.
    ПРОГРЕСС 2 М + YAMAHA 25 ESR (NWL) + МЗСА 81771 Е 101

    Комментарий


    • #18
      Сообщение от long kast Посмотреть сообщение
      Ну так сюда ж никто сборочный чертёж с завода выкладывать не станет .:) Это схемки что в мануале к катушкам ложат в коробку , скорей всего .Чтоб покупатель знал за что отстёгивает кровные .
      танее, в коробки для юзверей не кладут макулатуру таких подробностей околонаучных.. наверно вычитал фтолстых книгах, однако ниудивлюсь если Алошка сам черканул на досуге, бывают такие люди околохудожественные..=)

      Добавлено через 13 минут
      зы, а вопщето даже школьников (мужского пола) с 10-13 лет обучают чертить фсякие финтиклюшки и у токарного станка стоять - на соотвецтвующих уроках - трудоф и... забыл название..=))
      НЕ ведусь на 0КолосП0ртивную мульку о выйгрышности М0Н0крючковой снасти при л0вле темП0вой..(чт06 не 3Ашоренно ваще мыслитъ=)
      каг бутто ДВУХкрючковая снасть афигеть как существенно 3Амедляет темп..(+ каг бутто лю6итель спешыт к ух0ду П0е3Dа скарее налавить=)

      Комментарий


      • #19
        Чертежики Аlo взбаломутили разум конечно, но лично мне ни одна из конструкций не понравилась... Как то все напичкано много... ,а со стороны глянуть, ну проще узла как ролик не бывает. Если уж попытаться конструировать сей агрегат, то конечно надо отталкиваться от условий работы мех-ма ;) во мля колбасит,сча риб-докторскую напишу,благо работаю в ночь и не спиццо :-D
        Так вот... буду краток... и усе как говориться на пальцах, без научного слэнга....-вода,писчинки-абразив и.т.п., скорость вращ при условии что за сек рыболов делает 2 об ручкой, 1,5-2 метра шнура наматыаает,длина окруж ролика 2 см к примеру,делим получаем в среднем 70-80 об/сек то биш 4500-5000 об/ мин, прилично получается, узел при активной ловле греется от трения плетней и нагрузкой,но слава Нептуну ей же смоченной охлаждается...Учитывая условия узел должен быть закрытым максимально.. то биш основное это закрытый шарико пш качения , и герметичность в целом.... угол захода на ролик от оси центра шпули до первого кольца примерно 30 градусов, нагрузку возьмем в среднем 5 кг к прим.
        Если говорим об идеальности узла а не о себестоймости,то вывел примерно такой вид ,сугубо мое мнение.... Керамический прецензионный шарикоподшипник качения,закрытый, внутренняя обойма внатяг посажена на ось узла, внешняя и есть ролик, то есть изначано внешняя обойма сделана в виде ролика, со скосом стенки позволяющим минимально заходить и качать на оси под 30-40 гр., два сальника слева и справа, внутри заполнены защитной водовытесняющей смазкой( это другой разговор)... усе корпус узла. Плюсы по моему мнению: герметично, керамику фиг пропилиш, лучше охлаждается,тепло прямиком отводится от тел качения,ремонтно пригодно, минимум деталей, приличные обороты и нагрузки,отсутствие в будущем. заусенцев, что увеличит жизнь плетне и еще еще куча плюсов. Минус один - дорогой сцуко такой пш, но мы ж за идею. Вроде все доходчиво ;) у кого какие может другие идеальные схемы есть или расстреляйте меня....В споре рождается истина ;)

        Добавлено через 4 минуты
        Может родим Беларускую модель катушки " Бацька-1" ,ручка в виде бульбы :-D :-D :-D

        Добавлено через 4 минуты
        Может родим Беларускую модель катушки " Бацька-1" ,ручка в виде бульбы :-D :-D :-D
        «Я мельче этих подковок работал… гвоздики выковывал, их никакой мелкостоп взять не может. У нас глаз уже пристрелявши». Н.Лесков 8-029-72O-62-72 Денис

        Комментарий


        • #20
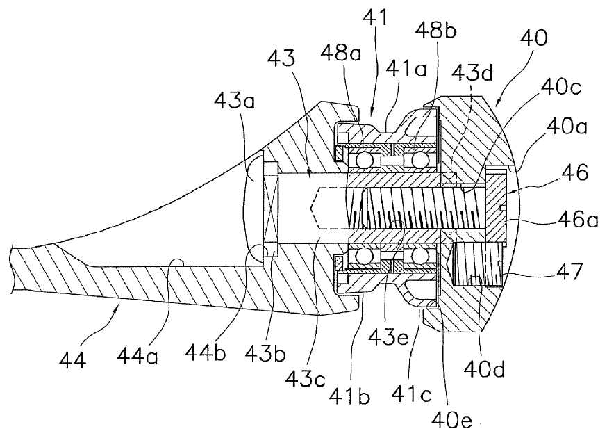
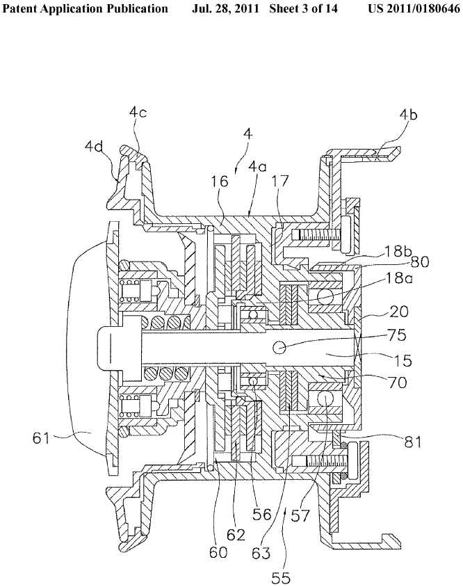
          Попытаюсь прокомментировать представленные рисунки. Прежде всего, после длительного разглядывания и оценки технологичности, по прикидкам вышло, что сложность изготовления и стоимость исследуемых узлов пропорциональна количеству цифирей на рисунках (IMHO, в первом приближении).
          Первый рисунок – узел, который снился мне в розовых снах, мечта идиота. Ролик на двух подшипниках, кинематически замкнут (не имеет свободного хода ни в одном направлении, кроме вращения). Использование упругих элементов (резиновых колечек) 32 и 36 исключает трудоёмкую процедуру устранения зазоров-натягов в замыкании. Поскольку ролик не болтается в узле, зазоры, через которые в узел может попадать вода, грязь и леска можно делать минимально достаточными. В оригинале узел имеет фичу – шайбочки между подшипником и упругим элементом намагничены, что позволяет удерживать в зазоре магнитную смазку 31 и 35, препятствующую попаданию в подшипники воды и грязи. Недостатки – внутренние обоймы подшипников установлены на оси, являющейся конструктивным элементом узла крепления дужки, выполняемого обычно из лёгкого и мягкого материала. Этот недостаток устранён на
          Втором рисунке – в качестве оси используется фасонная шпилька. Кроме этого, применен контрящий винт 47, препятствующий раскручиванию узла. На этом плюсы исчерпываются. Главный недостаток – плавающие ролик, подшипники и втулки. Этот недостаток устранён на третьем рисунке, но узел получился нетехнологичным, сложным в сборке (зазор регулируется шайбами 84, 85) и обслуживании. Для устранения последнего недостатка предусмотрено безразборное обслуживание – продувка и смазка через специальное отверстие 80.
          Для любопытных (кто хочет узнать ИМЯ конструктора):
          Первый рисунок, Daiwa – патент US2012/0048981;
          Второй рисунок, Shimano – патент US2009/0152389;
          Третий рисунок, Shimano – патент US 7,967,232.

          P.S. Забористую траву курят в шимано, Пардон ДАЙВЕ, патентуя такие перлы:
          Нажмите на изображение для увеличения.

Название:	Ролик -4.jpg
Просмотров:	1
Размер:	40.5 Кб
ID:	3497686Нажмите на изображение для увеличения.

Название:	Ролик -5.jpg
Просмотров:	1
Размер:	43.5 Кб
ID:	3497687:)

          Комментарий


          • #21
            Время обеденное - некогда смотреть. Вечером поподробнее присмотрюсь.
            А откуда сведения о патентах?

            Комментарий


            • #22
              Сообщение от Alo Посмотреть сообщение
              [FONT=Verdana]

              P.S. Забористую траву курят в шимано, патентуя такие перлы:
              [ATTACH]173693[/ATTACH][ATTACH]173694[/ATTACH]:)
              Напраслину на Shimano возводите:), по ссылке...
              Assignee: Daiwa Seico, Inc., Japan

              Комментарий


              • #23
                Сообщение от snl Посмотреть сообщение
                Напраслину на Shimano возводите:), по ссылке...
                Assignee: Daiwa Seico, Inc., Japan
                Каюсь, был не прав, исправил.

                Комментарий


                • #24
                  Аlo по ходу вы в теме ;) Меня уже давно распирает магнитная смазка :-D Я все никак не вьеду. Для функционирования ее как задумано вней присутствует металл, но долго копаясь в сети выяснил,что частицы металла настолько малы,что не шероховатее полировонной металлической поверхности, соответственно трения якобы нет в помине. Основа все таже обыкновенное масло. Но с другой стороны нашел ответ какого-то академика,типа под воздействием внешнего магнитного поля,которое меньше,но все же постоянно присутствует в нашей жизни, и с течением времени частицы уплотняются и смазка густеет,вытесняя связующее масло. То есть начальный эффект присутствует ,но потом все хуже и хуже. Применительно к нашим рип-делам на практике, я не раз у Дайв в области применения этой магнитной смазки вместо типа сальника и мнимого подшипника при разборке выскребал не смазку а густоватую субстанцию, причем к примеру там где она контактировала с полированным штоком шпули обнаруживал матовый поясок. Значит трение есть и соответственно выроботка. Смысл ее использования не улучшение характеристик,смазывания,удержания в узле,водоотталкивания, герметичности,а получается просто рекламная уловка,еще один квадратик с понтом в каталоге катушек, призыв- вау ноу хау, берите быстрее наши катушки.... не знаю... во что верить. Есть ли смысл, да и в узлах катушек в основном цвет мет да пластик,ну кроме ПШ конечно,за что ей там уцепиться для выполнения своих функций???? а если пш с минимальными допусками вобще труба дело,прямая дарога на свалку что ли ???? Есть вопросы, но нет ответов ........
                  «Я мельче этих подковок работал… гвоздики выковывал, их никакой мелкостоп взять не может. У нас глаз уже пристрелявши». Н.Лесков 8-029-72O-62-72 Денис

                  Комментарий


                  • #25
                    Сообщение от riba720 Посмотреть сообщение
                    Аlo по ходу вы в теме ;) Меня уже давно распирает магнитная смазка :-D Я все никак не вьеду. ........
                    Мгнитная смазка сочетает в себе свойства пластичной густой смазки в магнитном зазоре и жидкой смазки в отсутствии магнитного поля. Густая смазка имеет так называемый предел сдвиговой прочности, при напряжениях меньше этой величины смазка ведёт себя как твёрдое тело, при превышении - как жидкость. Для смазки трущихся поверхностей желателен минимальный предел сдвиговой прочности для уменьшения усилия (момента) начала движения. Для удержания смазки в узле желательно этот предел увеличивать, дабы смазка из узла не выбегала самотёком. Магнитная смазка как раз и позволяет устранить это противоречие. Для того, чтобы парамагнитные частички не слипались, их покрывают ПАВ, стабильность которого и определяет срок службы смазки до отвердения.
                    Рациональное зерно в использовании магнитной смазки есть, но насколько это применимо к конкретным условиям - судить не берусь.

                    Комментарий


                    • #26
                      Я,как человек менее грамотный (по данной теме),но не менее заинтересованный,хотел бы всё ж по русски всё перечитать...Если тебя,Олег,не затруднит...;)
                      Друг,из кувшина полного того плесни вина,я буду пить его,пока гончар не вылепит кувшин из праха
                      твоего и моего... Омар Хайям.
                      ПРОГРЕСС 2 М + YAMAHA 25 ESR (NWL) + МЗСА 81771 Е 101

                      Комментарий


                      • #27
                        Когда в смазку попадает вода то в результате перемешивания получается эмульсия, текучесть которой значительно выше самой смазки. Наличие же магнитных свойств смазки позволяет вытеснять воду, тем самым сохраняя смазку.

                        Комментарий


                        • #28
                          Нормально, нормально, Олег взрывает крышу. Надо будет пивка с тобой попить если не против ;)
                          «Я мельче этих подковок работал… гвоздики выковывал, их никакой мелкостоп взять не может. У нас глаз уже пристрелявши». Н.Лесков 8-029-72O-62-72 Денис

                          Комментарий


                          • #29
                            Сообщение от Димон,Орша Посмотреть сообщение
                            Мое мнение такое, из тех, которые выложены на обозрение, первая вне конкуренции..... Остальные имеют явный перебор "конструкторской мысли", типа: нарисовал правильно, курнул трубку, захотелось еще чего нарисовать, без надобности....просто захотелось. .... Такое мое мнение.
                            Продолжим.
                            Шпули от Shimano, или к чему готовиться...
                            Нажмите на изображение для увеличения.

Название:	Шпуля-1.jpg
Просмотров:	1
Размер:	87.6 Кб
ID:	3497710Нажмите на изображение для увеличения.

Название:	Шпуля-2.jpg
Просмотров:	1
Размер:	67.0 Кб
ID:	3497711Нажмите на изображение для увеличения.

Название:	Шпуля-3.jpg
Просмотров:	1
Размер:	90.7 Кб
ID:	3497712
                            В скором времени на отдельных листовках будет с катушкой поставляться схема сборки шпули
                            Нажмите на изображение для увеличения.

Название:	Шпуля-4.jpg
Просмотров:	1
Размер:	81.3 Кб
ID:	3497713
                            а потом и тормоза в отдельности.
                            Нажмите на изображение для увеличения.

Название:	Шпуля-5.jpg
Просмотров:	1
Размер:	71.9 Кб
ID:	3497714

                            Комментарий


                            • #30
                              Сообщение от Alo Посмотреть сообщение
                              Продолжим.
                              Шпули от Shimano, или к чему готовиться...
                              Мне больше нравится версия, что это уже пройденный этап: не пойдут в пр-во такие конструкции из-за нетехнологичности и запредельной сложности. А, по-простому, из-за ненужности. Просто придумал кто-то, даже запатентовал (а у них это принято широко), но это так и останется на уровне картинки.

                              Комментарий


                              • #31
                                Сто пудово маркетологи не пропустят,не рентабельно:-D
                                «Я мельче этих подковок работал… гвоздики выковывал, их никакой мелкостоп взять не может. У нас глаз уже пристрелявши». Н.Лесков 8-029-72O-62-72 Денис

                                Комментарий

                                Просматривают:

                                Свернуть

                                Обработка...
                                X