Объявление

Свернуть
Пока нет объявлений.

Катушки

Свернуть
X
 
  • Фильтр
  • Время
  • Показать
Очистить всё
новые сообщения

  • Катушки

    О катушках.
    Последний раз редактировалось UGO; 14.11.2015, 13:56.
    ...не ту страну назвали Гондурасом...

  • Сообщение от friendly_fire Посмотреть сообщение
    пусть его слова будут на его совести.
    а это вообще его слова?
    Просто глянул поиском, и нигде нет первоисточника... Везде как тут, на уровне легенд ;): ктото сказал, что КК сказал ;)
    С наилучшими пожеланиями

    Комментарий


    • Сообщение от Мирон Посмотреть сообщение
      а это вообще его слова?
      Я не про приведённые слова, а про его негатив в отношении Шимано :)
      "Удаляясь от условий общества и приближаясь к природе, мы невольно становимся детьми; все приобретенное отпадает от души, и она делается вновь такою, какой была некогда, и, верно, будет когда-нибудь опять."

      Комментарий


      • Сообщение от friendly_fire Посмотреть сообщение
        Я не про приведённые слова, а про его негатив в отношении Шимано
        friendly_fire, судя по твоему возрасту, ты не застал те благословенные времена ;), когда мы говорили"партия", а подразумевали "Ленин" ;)..
        И я не знаю. что ты подразумевал, а сказал ты следующее ;)
        Сообщение от friendly_fire Посмотреть сообщение
        пусть его слова будут на его совести.
        На да ладно.. Негатив может быть, может не быть (есть народ не любящий Шимано посильнее КК, и аналогично с дайвами и с другими брендами ;)), но я именно про эти слова, что нигде ничего конкретного, одни легенды ;)
        Поэтому еще раз -а говорил ли он эти слова, которые так стараются возложить на его совесть;)?
        С наилучшими пожеланиями

        Комментарий


        • Сообщение от Luger Посмотреть сообщение
          К.К.- "Чем больше я ловлю катушками Шимано, тем сильнее мне нравятся катушки Корморан "
          Видать Шимано забыло проплатить "главному" пиарщику Константину Кузьмину...
          В отношении Кузьмина у меня лично такое мнение: чем спонсируют, на то он и ловит! Надо же что-то тестировать и продвигать на рынок...
          И, я думаю, он не против катушек Шимано. Просто никто ему не дает их... ;)
          The truth is out there...:???:

          Комментарий


          • Сообщение от Jack-fisher Посмотреть сообщение
            он не против катушек Шимано. Просто никто ему не дает их... ;)
            Так а зачем их вообще кому-то давать? Это отличные катушки, каждая модель без исключения в своей ценовой нише, и поэтому они не нуждаются в подобного рода сомнительном пиаре. Заметьте, на том же кабеласе на Шимано практически никогда не бывает скидок - они всегда и везде продаются по РРЦ, и их покупают. Это кое о чем говорит, мне кажется...
            Кирилл

            Комментарий


            • Сообщение от Jack-fisher Посмотреть сообщение
              В отношении Кузьмина у меня лично такое мнение: чем спонсируют, на то он и ловит!
              Чтото в большинстве у народа такое мнение только в отношении КК ;)
              а остальные на что ловят ;)

              - - - Добавлено - - -

              Сообщение от dulcerth Посмотреть сообщение
              Заметьте, на том же кабеласе на Шимано практически никогда не бывает скидок - они всегда и везде продаются по РРЦ, и их покупают. Это кое о чем говорит, мне кажется...
              Ты редко бываешь на кабеласе :)...
              Больших скидок на Шимано не бывает, но скидки есть, и даже на Стеллу ;)
              С наилучшими пожеланиями

              Комментарий


              • Сообщение от Мирон Посмотреть сообщение
                И я не знаю. что ты подразумевал
                Потому я и уточнил :)

                Сообщение от Мирон Посмотреть сообщение
                есть народ не любящий Шимано посильнее КК
                Есть, но КК считается "экспертом", со всеми вытекающими отсюда последствиями. Например, только одно упоминание его фамилии способствует мгновенному рождению легенд и мифов :)

                Сообщение от Мирон Посмотреть сообщение
                а говорил ли он эти слова, которые так стараются возложить на его совесть?
                Не знаю. Я такого не встречал.

                Вопрос. Игрался в очередной раз с шайбами, результат на фото. Какой из трёх вариантов намотки предпочесть? Фотограф я не очень, но рассмотреть вроде бы можно.
                "Удаляясь от условий общества и приближаясь к природе, мы невольно становимся детьми; все приобретенное отпадает от души, и она делается вновь такою, какой была некогда, и, верно, будет когда-нибудь опять."

                Комментарий


                • Отзовитесь,может есть на форуме умельцы,которые могут обслужить катушку шимано?Если можно в лс

                  Комментарий


                  • Сообщение от alex1980 Посмотреть сообщение
                    В поиске новых ощущений - чувствительность, дальность заброса, бесшумность - покупаем мягкие и тонкие РЕ-шнуры
                    Вот тут в точку,плюс контрольный рукой так тыц с любовью к катушке.. Катушка хорошая,не в ней собака порылась...

                    Комментарий


                    • Сообщение от friendly_fire Посмотреть сообщение
                      ...Игрался в очередной раз с шайбами, результат на фото. Какой из трёх вариантов намотки предпочесть?..
                      Первый кривой какой-то. А на третьем фото, вроде, ровнее всего получилось...
                      The truth is out there...:???:

                      Комментарий


                      • Сообщение от friendly_fire Посмотреть сообщение
                        Какой из трёх вариантов намотки предпочесть?
                        третий.

                        Комментарий


                        • Jack-fisher,
                          kirk,
                          Спасибо. Сам к этому варианту и склонялся.
                          "Удаляясь от условий общества и приближаясь к природе, мы невольно становимся детьми; все приобретенное отпадает от души, и она делается вновь такою, какой была некогда, и, верно, будет когда-нибудь опять."

                          Комментарий


                          • Сообщение от friendly_fire Посмотреть сообщение
                            Игрался в очередной раз с шайбами, результат на фото. Какой из трёх вариантов намотки предпочесть?
                            Первый вариант - обратный конус. Сам использую данный вид намотки под твитч. Рекомендуется под рывковую проводку.
                            Главное процесс, а результат - бонус.

                            Комментарий


                            • Сообщение от Мирон Посмотреть сообщение
                              а это вообще его слова?
                              Просто глянул поиском, и нигде нет первоисточника... Везде как тут, на уровне легенд ;): ктото сказал, что КК сказал ;)
                              http://kkuzmin.ru/forum/messages/for...1/#message8391
                              Последний раз редактировалось Alo; 05.05.2014, 11:05.

                              Комментарий


                              • Сообщение от riba720 Посмотреть сообщение
                                Да и дайва дебилы оказываюццо,придумали шпулю с изначально обратным конусом:-D
                                В войне Д и Ш главное застолбить (запатентовать) как можно больше территории, без оглядки на урожайность (полезность) застолбленных соток. Д в своё время столбило не конкретно конус, а внешний вид шпули.
                                http://www.google.com/patents/USD415550
                                http://www.google.com/patents/USD415815
                                http://www.google.com/patents/USD448444

                                За время действия этих патентов все производители отстёгивали Д за похожесть их шпуль.
                                Так родились некруглые шпули Ш.
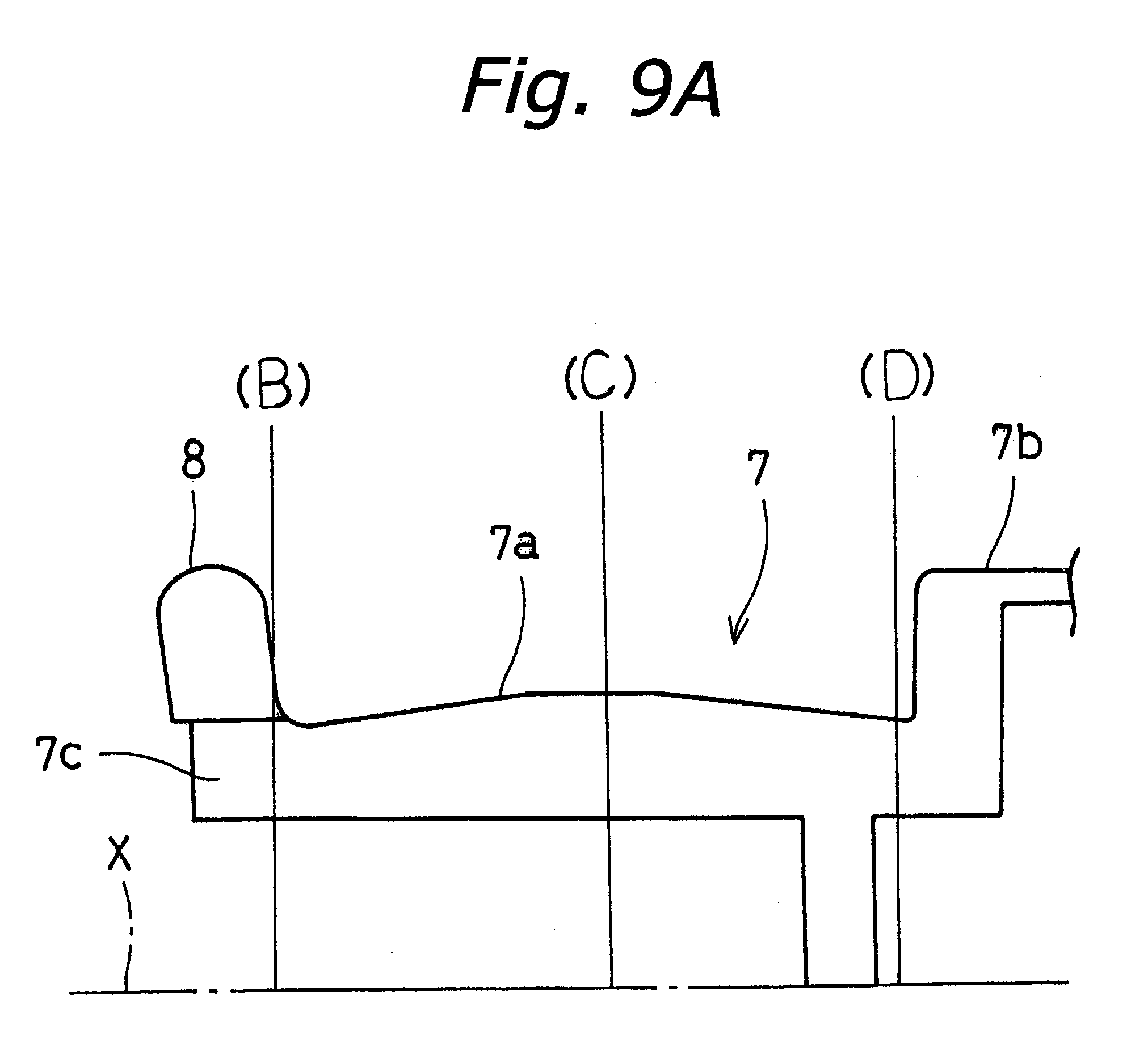
                                http://www.google.com/patents/US6364231
                                Кстати, обратите внимание на рисунок 9А этого патента.
                                Нажмите на изображение для увеличения.

Название:	US06364231-20020402-D00007.png
Просмотров:	1
Размер:	21.2 Кб
ID:	3671896
                                Присутствуют оба конуса (эллиптических, в отличие от Д, иначе патент завернули бы), но цель - не заморачиваясь со сложностью механизма осцилляции получить приемлемую укладку без горбов у бортиков шпули.
                                Последний раз редактировалось Alo; 05.05.2014, 10:48.

                                Комментарий

                                Просматривают:

                                Свернуть

                                Обработка...
                                X